Power Conditioning Unit (PCU)
danger
This document contains confidential data and is not intended to be shared outside of SAGE!
| Authors |
|
| Responsible |
|
| Last Updated | 10/12/2025, 12:48:54 PM |
| Last Author | Kai Berszin |
Scope
This section describes the chosen power-conditioning-unit for the SAGE CubeSat, the P31u by GomSpace.
It is seperated into
Quickfacts
| Manufacturer | GomSpace |
| Part Number | NanoPower P31u |
| Weigth | 258g |
| Size | 94 x 84 x 23 mm |
| Mass | 100g |
| Stack Connector | SSQ-126-02-G-D |
| Conformal coating | Not applied |
| Document freeze | DS 1009525 32 |
| Document freeze date | Sep 01, 2023 |
| Status | Delivered |
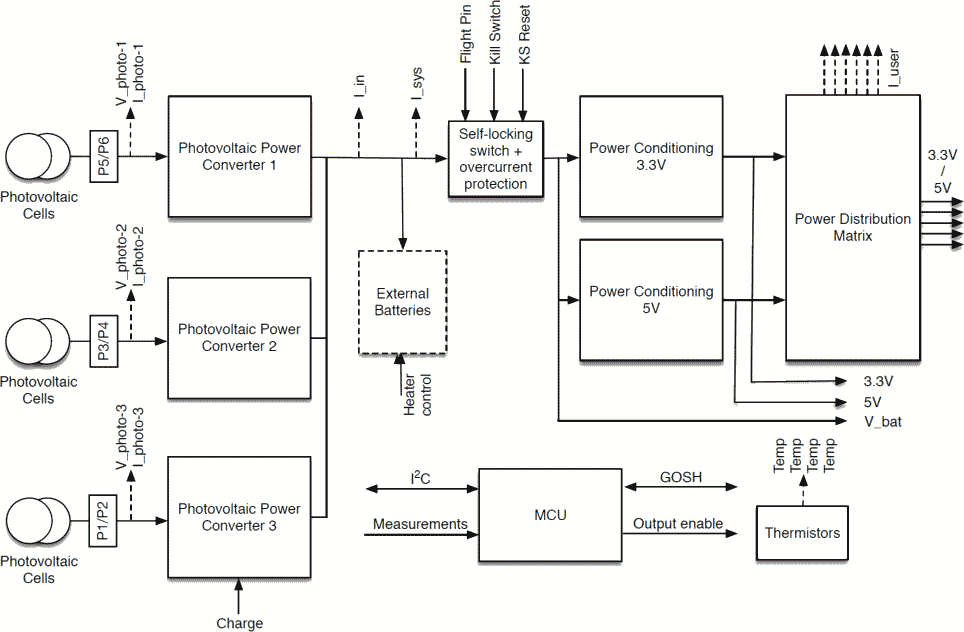
Block Diagram

Electrical Characteristics
| Parameter | Condition | Min. | Typ. | Max. | Unit |
|---|---|---|---|---|---|
| Battery - Voltage - UVD - Current, charge -Current, discarge -OCD (I) | Battery connection 4 cells in series Under voltage detection (Depends on battery configuration) Overcurrent protection threshold Overcurrent detection | 12.0 1 | 14.4 1600 4 580 | 16.8 6.00 1400 | V us A A us |
| PV Inputs - Voltage - Current, charge | Photo-voltaic inputs | 0 0.00 | 8.4 | 17 2.00 | V A |
| Charge Pin - Voltage - Current, cont | Battery charge input 5V=>0.9A charge, 4V=>0A @5V | 4.1 | 5.00 0.9 | 5.00 1.1 | V A |
| OUT-1,2,3,4,5,6 - Voltage - Current, cont | Latch-up protected outputs Configurable Current cut-off limit (Cust. select) | 0.5 | 3.3/4.98 Select | 2.5 | V A |
| +5V - Voltage - Current, cont. | 5V regulated output (always on) Total current including output channels | 4.89 0.005 | 4.98 | 5.05 4.00 | V A |
| +3.3V - Voltage - Current, cont. | 3.3V regulated output (always on) Total current including output channels | 3.29 0 | 3.34 | 3.39 5.00 | V A |
| V_BAT - Voltage - Current out | Battery votlage Over Voltage protected See Block Diagram (Depends on battery configuration) | 12.15 | 4 | 16.8 | V A |
| Power consumption | Power consumed by P31u | 260 | mW | ||
| Off current | Current consumed with seperation switch OFF | 35 | 60 | uA | |
| Shell-life | Period until batteries are fully discharged when seperation switch is OFF. (Depends on battery configuration) | 700 | 1400 | Days |
Open Questions
-
Chapter 4.1 OCD => Is the OCD system wide or per Buck converter; => If system wide; what is I_sys (3.4 is missing...)
-
Chapter 4.2 Power Distribution Switch => What is the current limit? The one put during odering? => "until either the fault load is removed from VOUT" => what is VOut? OUT-1,2,3...? How is this detected?
-
How to manage non-locking kill switch? => Major risk!
-
Think about WDTs and how to use them.
-
Think about default config